Артикул: 1053928

Раздел:Технические дисциплины (57837 шт.) >
  Теоретические основы электротехники (ТОЭ) (5301 шт.) >
  Цепи постоянного тока (1067 шт.) >
  Смешанное соединение сопротивлений (234 шт.)

Название или условие:
Номинальные данные декоративных электрических ламп равны 6 В и 1.8 Вт.
Какое наименьшее число ламп потребуется для елочной гирлянды, если ее присоединяют к сети напряжением 127 В, и какой ток будет в цепи гирлянды?

Описание:
Подробное решение.

Процесс покупки очень прост и состоит всего из пары действий:
1. После нажатия кнопки «Купить» вы перейдете на сайт платежной системы, где можете выбрать наиболее удобный для вас способ оплаты (банковские карты, электронные деньги, с баланса мобильного телефона, через банкоматы, терминалы, в салонах сотовой связи и множество других способов)
2. После успешной оплаты нажмите ссылку «Вернуться в магазин» и вы снова окажетесь на странице описания задачи, где вместо зеленой кнопки «Купить» будет синяя кнопка «Скачать»
3. Если вы оплатили, но по каким-то причинам не смогли скачать заказ (например, случайно закрылось окно), то просто сообщите нам на почту или в чате артикул задачи, способ и время оплаты и мы отправим вам файл.
Условия доставки:
Получение файла осуществляется самостоятельно по ссылке, которая генерируется после оплаты. В случае технических сбоев или ошибок можно обратиться к администраторам в чате или на электронную почту и файл будет вам отправлен.
Условия отказа от заказа:
Отказаться возможно в случае несоответсвия полученного файла его описанию на странице заказа.
Возврат денежных средств осуществляется администраторами сайта по заявке в чате или на электронной почте в течении суток.

Похожие задания:

Найдите Rэкв для цепи постоянного тока представленной на рисунке.
Определить сопротивление между точками 2-3.
Какое соотношение несправедливо для схемы, изображенной на рисунке?
1. I1>I3
2. I1>I2
3. U2<U1
4. I3<I2 5. U3<U2<U1<U

Найти: I5, U6
Найти общий ток и сопротивление цепи, ее мощность, токи, напряжения и мощности всех элементов (I0, R0, P0, Ii, Ui, Pi)
Вариант 27

Определить Rab
Вариант 5
1. Определите эквивалентное сопротивление цепи между зажимами 1-1’ при холостом ходе (точки 2 и 2’ разомкнуты). Сопротивления в Омах даны на схеме (рис. 1)

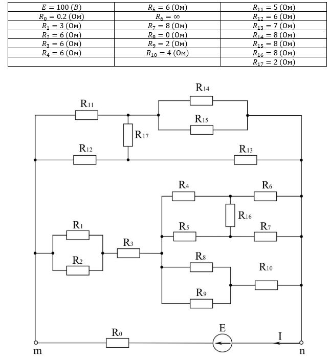
РАСЧЁТНО-ГРАФИЧЕСКАЯ РАБОТА №1
Для электрической цепи с параметрами, заданными в таблице, определить эквивалентное (входное) сопротивление относительно зажимов источника питания и ток в ветви источника питания.

К цепи постоянного тока приложено напряжение U = 24 В. Цепь составлена из элемента R1 = 0.8 Ом, включенного последовательно с R2||R3. Определить ток элемента R1 при R2 = 2 Ом, R3 = 3 Ом.Цепь постоянного тока состоит из элементов R1 = 200 Ом и R2 = 300 Ом, включенных последовательно под напряжение U = 2000 В. Найти ток в цепи.